全自動凝汽器膠球清洗裝置系統安裝使用帶來的影響
全自動凝汽器膠球清洗裝置系統安裝使用帶來的影響,火(核)電站對凝汽器換熱管通進行及時清洗的智能化凝汽器膠球清洗裝置。
火力發電廠在發電過程中,事先通過鍋爐把水加熱成高溫高壓的蒸汽,再把蒸汽送入汽輪機,并帶動發電機發電。工作后的蒸汽被送入凝汽器,將蒸汽冷凝成低溫低壓的冷凝水,然后由凝結水泵把冷凝水送到鍋爐再加熱,繼續循環使用。由此可見,凝汽器是火電廠的重要設備之一。凝汽器是一個龐大箱體,里面的冷凝管即換熱管多達十幾萬根,管子內部是冷卻水,管子外部是凝結水。在長期運行中,冷凝管內壁易產生結垢,且有時管內有污物堵塞,這些現象會導致電站機組輸出能量的損失。因此,保證冷凝水回路系統的優化運行,對于提高整個機組的熱效率有著重大的影響。
目前,已有的全自動凝汽器膠球清洗裝置只是將收球網、膠球泵、裝球室順序用管道連接而成。許多電廠安裝后,經常盲目投運,或根本不能投運,究其原因:
1、已有技術不能準確判斷冷凝管內結垢及污物堵塞情況,只是通過人工按動電動按鈕來控制泵的啟、停,閥門的開關,收球網的反洗和閉合,且這些動作都是主觀設定,定期操作,浪費了大量的人力和物力,且達不到滿意的效果。
2、因為只能人為確定投用膠球清洗裝置的時段,經常出現如下情況:
1)因投用時間太長,管內雖已清洗,但設備仍在運行,造成對冷凝管管壁過度的沖刷,故縮短了冷凝管的使用壽命。
2)假如投用時間太短,管內實際上未清潔,從而未達到清洗的目的。膠球清洗時,是用略大于冷凝管內徑的彈性膠球在凝汽器冷凝管道內快速通過,膠球前產生噴射水流,同時膠球摩擦管壁,從而起到清洗污垢的作
用。因此使膠球順利通過冷凝管并有確實的擦洗、讓每一根冷凝管有均等的清洗周期、確保膠球的摩擦不損傷管壁等,成為全自動膠球清洗裝置的技術關鍵。
全自動凝汽器膠球清洗裝置所要解決的技術問題是必須提供一種改進的智能化凝汽器膠球清洗裝置,通過該裝置,能在線檢測凝汽器中冷凝管內冷凝水的溫度、管壁溫度和管內流動壓降,并在線計算出冷凝管內的積垢熱阻,使操作人員及時掌握冷凝器中冷凝管內的結垢及污物堵塞情況,然后根據結垢引起的經濟損失、清洗費用等綜合因素得出佳清洗周期。
全自動凝汽器膠球清洗裝置技術方案是:在已有的膠球清洗裝置上增設壓力壓差變送器、溫度測量變送器、污垢熱阻監測儀、多媒體計算機,且壓力壓差變送器和溫度測量變送器分別有探頭插入凝汽器冷凝水管道中,壓力壓差變送器和溫度測量變送器分別用信號電纜與污垢熱阻監測儀相連,污垢熱阻監測儀用信號電纜與多媒體計算機相連,多媒體計算機用信號電纜分別與電動執行機構、膠球泵相連。
由于采用上述方案,使凝汽器膠球清洗裝置實現了智能化控制,通過實時監測冷凝管的結垢狀況,然后根據結垢引起的經濟損失,清洗費用等綜合因素,計算出佳清洗周期,大大減少了膠球清洗裝置的投運次數,降低了勞動強度,使凝汽器始終處于高效運行狀態,節能效果顯著。
附圖說明
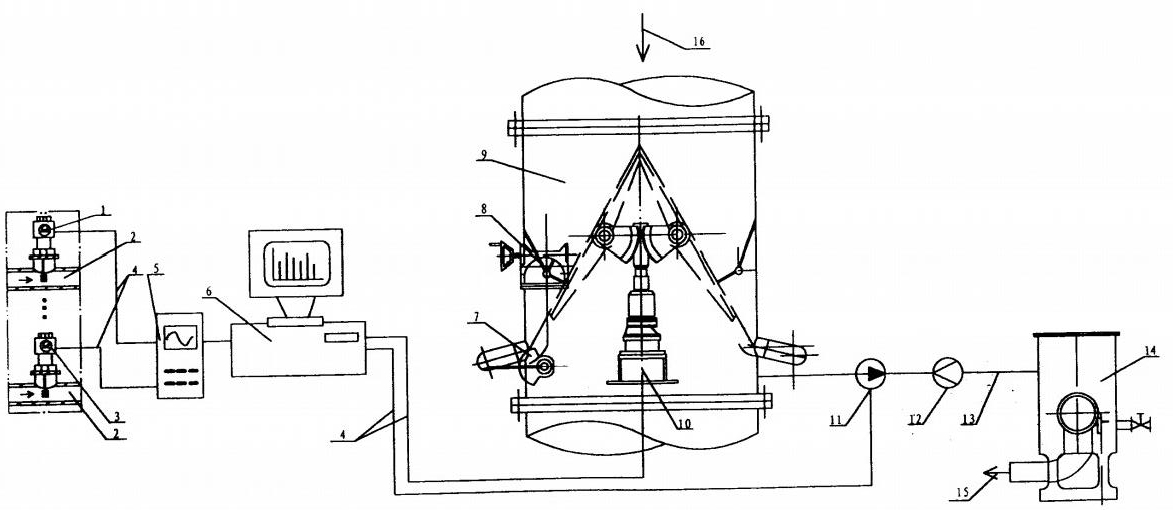
圖1為智能化全自動凝汽器膠球清洗裝置結構圖。
圖中:1、壓力壓差變送器2、凝汽器冷凝水分管道3、溫度測量變送器4、信號電纜5、污垢熱阻監測儀6、多媒體計算機7、出球水量調節器8、阻渦流調節器9、收球網10、電動執行機構11、膠球泵12、防止膠球倒流止回裝置13、管道14、裝球室15、箭頭16、箭頭
下面結合圖1詳細說明全自動凝汽器膠球清洗裝置細節及工作情況。
參照圖1,全自動膠球清洗裝置包括收球網(9)、膠球泵(11)、裝球室(14),并通過管道(13)依次相連。在運行中,為了防止膠球發生倒流,特在膠球泵(11)與裝球室(14)相連的管道(13)上設置了一個防止膠球倒流止回裝置(12)。在收球網(9)的前面有一個電動執行機構(10)。該機構和膠球泵(11)通過信號電纜(4)分別與左邊的多媒體計算機(6)相連,多媒體計算機(6)通過信號電纜(4)與污垢熱阻監測儀(5)相連,污垢熱阻監測儀(5)通過信號電纜(4)分別與一側的壓力壓差變送器(1)、溫度測量變送器(3)相連,且壓力壓差變送器(1)、溫度測量變送器(3)分別有探頭插入凝汽器(圖中未畫出)冷凝水分管道(2)中。
凝汽器在運行過程中,由于冷凝水分管道的內壁不斷產生結垢,故管道內的壓力壓差和溫度會發生變化,這些變化通過探頭傳給壓力壓差變送器(1)、溫度測量變送器(3),壓力壓差變送器和溫度測量變送器再將信號通過信號電纜(4)傳給污垢熱阻監測儀(5),污垢熱阻監測儀再將信號通過信號電纜傳給多媒體計算機(6)進行分析,使操作人員及時掌握冷凝水分管(2)的結垢及污物堵塞情況,然后根據結垢引起的經濟損失、清洗費用等綜合因素,得出佳清洗周期,在運行數據的指導下進行凝汽器冷凝水分管道的清洗。清洗時,由多媒體計算機傳輸信號給膠球泵(11)和電動執行機構(10),膠球泵啟動,裝球室(14)內的膠球便沿著箭頭(15)的方向打入凝汽器(圖中未畫出)各冷凝水分管道內進行清洗,然后膠球又沿著圖中箭頭(16)的方向,從冷凝水總管道進入收球網(9)內,即完成一次循環。圖中電動執行機構(10)可以指令收球網的張開與收攏。為了確保膠球在沿途能順利運行,在收球網(9)的一側還設置了出球水量調節器(7)和阻渦流調節器(8)。